با ما همراه باشید

تکنولوژی

معماری تراشه هوش مصنوعی OpenAI برملا شد؛ طراحی هوشمندانه برای رفع محدودیت‌ها

پتنت OpenAI نشان می‌دهد که سازنده ChatGPT از روشی شبیه اینتل برای رفع محدودیت‌های موجود در صنعت استفاده کرده است.

منتشر شده

در

معماری تراشه هوش مصنوعی OpenAI برملا شد؛ طراحی هوشمندانه برای رفع محدودیت‌ها

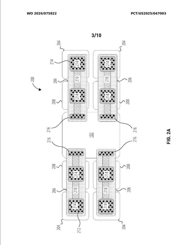
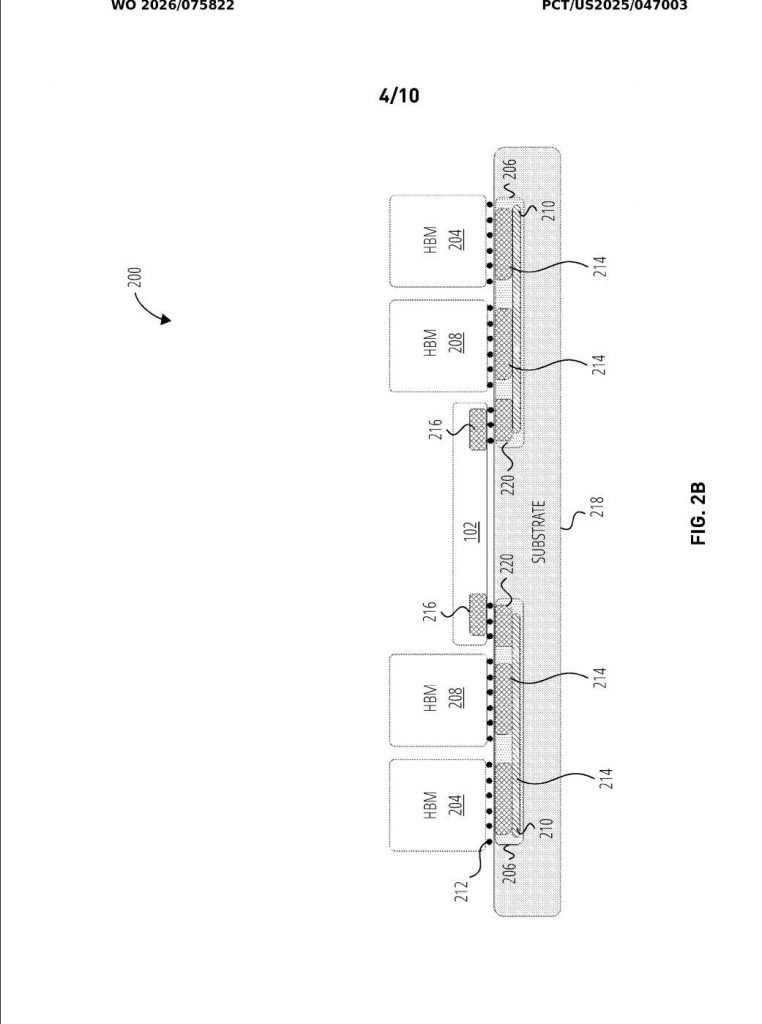
شرکت OpenAI به‌تازگی پتنت جدیدی منتشر کرده که در آن جزئیات تراشه هوش مصنوعی اختصاصی این شرکت شرح داده شده است. طبق جزئیات پتنت، تراشه مذکور از چندین «چیپلت محاسباتی» و تعداد زیادی «حافظه اچ‌بی‌ام» (HBM) تشکیل شده است.

در این طرح، تمام چیپلت‌ها با استفاده از «پل‌های منطقی توکار» (Embedded Logic Bridges) به یکدیگر متصل می‌شوند. ایده اصلی OpenAI، استفاده از این پل‌های منطقی توکار برای ایجاد اتصالات پرسرعت در فواصل طولانی‌تر است تا تعداد بیشتری چیپلت بتوانند به هم متصل شوند و نیازهای پردازشی کارهای سنگین هوش مصنوعی و محاسبات پرکاربرد را فراهم کنند.

معماری تراشه هوش مصنوعی OpenAI برملا شد؛ طراحی هوشمندانه برای رفع محدودیت‌ها
معماری تراشه هوش مصنوعی OpenAI برملا شد؛ طراحی هوشمندانه برای رفع محدودیت‌ها
معماری تراشه هوش مصنوعی OpenAI برملا شد؛ طراحی هوشمندانه برای رفع محدودیت‌ها
معماری تراشه هوش مصنوعی OpenAI برملا شد؛ طراحی هوشمندانه برای رفع محدودیت‌ها
معماری تراشه هوش مصنوعی OpenAI برملا شد؛ طراحی هوشمندانه برای رفع محدودیت‌ها
معماری تراشه هوش مصنوعی OpenAI برملا شد؛ طراحی هوشمندانه برای رفع محدودیت‌ها

در روش‌های فعلی که برای بسته‌بندی تراشه‌ها انجام می‌شود، محدودیت‌هایی برای ترکیب حافظه HBM وجود دارد، زیرا این نوع حافظه با استفاده از سیم‌های فلزی روی لایه پایه با دیگر چیپلت‌ها ارتباط برقرار می‌کند. طبق استاندارد فعلی JEDEC، حافظه HBM باید در مجاورت چیپلت محاسباتی قرار داشته باشد و طول سیم‌های فلزی که از کنترلر فیزیکی به خود چیپلت اصلی کشیده می‌شوند، نباید بیشتر از ۶ میلی‌متر باشد.

رفع محدودیت‌ها در تراشه هوش مصنوعی OpenAI

برای رفع این محدودیت‌ها، OpenAI در پتنت خود استفاده از پل‌های منطقی توکار را پیشنهاد کرده که فاصله قابل‌پشتیبانی را از ۶ میلی‌متر به ۱۶ میلی‌متر افزایش می‌دهند.

معماری تراشه هوش مصنوعی OpenAI برملا شد؛ طراحی هوشمندانه برای رفع محدودیت‌ها
معماری تراشه هوش مصنوعی OpenAI برملا شد؛ طراحی هوشمندانه برای رفع محدودیت‌ها

در یک نمونه مشخص، OpenAI یک چیپلت محاسباتی را نشان داده که با استفاده از پل‌های منطقی توکار، به ۲۰ حافظه HBM متصل شده است. در روش‌های سنتی، این رقم به 4، 6 یا 8 محدود بوده است. این رویکرد ظرفیت حافظه را به‌طور چشمگیری افزایش می‌دهد و ساخت تراشه‌هایی را ممکن می‌کند که برای مدل‌های هوش مصنوعی بزرگ‌تر بسیار توانمند هستند.

اینتل نیز فناوری مشابهی با نام EMIB توسعه داده که یک راه‌حل پیشرفته برای بسته‌بندی تراشه محسوب می‌شود که برای معماری بسته‌بندی ۲.۵ بعدی طراحی شده و در آن از پل‌های کوچکی برای گسترش قابلیت‌ها و طرح‌های تراشه‌ها استفاده می‌شود

ادامه مطلب
برای افزودن دیدگاه کلیک کنید

یک پاسخ بگذارید

نشانی ایمیل شما منتشر نخواهد شد. بخش‌های موردنیاز علامت‌گذاری شده‌اند *

هیئت ایرانی اسلام‌آباد را ترک کرد/ مذاکرات منتفی شد؟
سیاسی و اجتماعی59 دقیقه پیش

هیئت ایرانی اسلام‌آباد را ترک کرد/ مذاکرات منتفی شد؟

فوری؛ سفر ویتکاف و کوشنر به پاکستان لغو شد/ مذاکرات ایران و آمریکا در بلاتکلیفی
سیاسی و اجتماعی59 دقیقه پیش

فوری؛ سفر ویتکاف و کوشنر به پاکستان لغو شد/ مذاکرات ایران و آمریکا در بلاتکلیفی

دیپلماسی با چاشنی جنگ؛ پیشنهاد ایران بن‌بست مذاکره با آمریکا را می‌شکند؟
سیاسی و اجتماعی1 ساعت پیش

دیپلماسی با چاشنی جنگ؛ پیشنهاد ایران بن‌بست مذاکره با آمریکا را می‌شکند؟

مقصد عراقچی پس از ترک اسلام‌آباد مشخص شد
سیاسی و اجتماعی1 ساعت پیش

مقصد عراقچی پس از ترک اسلام‌آباد مشخص شد

گوگل از قابلیت‌های هوش مصنوعی جدید برای اپلیکیشن مپس رونمایی کرد
تکنولوژی1 ساعت پیش

گوگل از قابلیت‌های هوش مصنوعی جدید برای اپلیکیشن مپس رونمایی کرد

معماری تراشه هوش مصنوعی OpenAI برملا شد؛ طراحی هوشمندانه برای رفع محدودیت‌ها
تکنولوژی2 ساعت پیش

معماری تراشه هوش مصنوعی OpenAI برملا شد؛ طراحی هوشمندانه برای رفع محدودیت‌ها

استارتاپ هوش مصنوعی میرا موراتی با گوگل قرارداد چند میلیارد دلاری امضا کرد
تکنولوژی2 ساعت پیش

استارتاپ هوش مصنوعی میرا موراتی با گوگل قرارداد چند میلیارد دلاری امضا کرد

همکاری گوگل و اپل؛ نسل جدید سیری مجهز به جمینای تا اواخر ۲۰۲۶ منتشر می‌شود
تکنولوژی2 ساعت پیش

همکاری گوگل و اپل؛ نسل جدید سیری مجهز به جمینای تا اواخر ۲۰۲۶ منتشر می‌شود

OpenAI از ابزار جدید Workspace Agents رونمایی کرد؛ انجام خودکار کار‌های سازمانی
تکنولوژی2 ساعت پیش

OpenAI از ابزار جدید Workspace Agents رونمایی کرد؛ انجام خودکار کار‌های سازمانی

OpenAI از نسخه اختصاصی ChatGPT برای پزشکان رونمایی کرد
تکنولوژی2 ساعت پیش

OpenAI از نسخه اختصاصی ChatGPT برای پزشکان رونمایی کرد

جدیدترین اخبار پربحث

خبر مهم اخیر

«مجله فان فارسی» از سال ۱۳۹۰ مجله‌ای در حوزه سرگرمی، سبک زندگی، سفر و فرهنگ روزمره است که با انتشار محتوای جذاب و الهام‌بخش، تجربه‌های زندگی شهری، تفریح، هنر و لحظه‌های خوش را برای مخاطبان روایت می‌کند. کپی بخش یا کل هر کدام از مطالب "فان فارسی" تنها با کسب مجوز مکتوب امکان پذیر است.